原裝正品EPSON晶振包裝規格及產品編碼解說
來源:http://m.tuanchewang.com 作者:康華爾市場部 2016年07月07
晶振是很多電子產品中都有應用到的元器件,被譽為電子世界里的心臟,因此采購者們在選購時不能盲目選擇.日本品牌的石英晶振就受到了很多企業的信賴,因日本享有電子產品帝國之稱,主要的品牌有KDS,愛普生,精工,NDK,西鐵城,京瓷等,質量性能都比國內的要好幾倍.

EPSON晶振為了與人們共同創造美好的生活和理想的社會,成為顧客不可或缺的企業,聚集所有的有效力量,健全更能實現巨大飛躍的高效體制,滿懷信心地迎接新的挑戰.愛普生全系的晶振產品對其包裝都有嚴格的說明,及產品編號都有詳細解說,對于SMD產品標準包裝說明如下,康華爾電子建議采購商根據包裝數量訂購.
1.柱面式
柱面式產品用乙烯袋包裝,每批包含250到1000件
2.耐焊接熱
將DIP產品放置抗靜電集成電路管內并裝到盒子里以便進行運送.


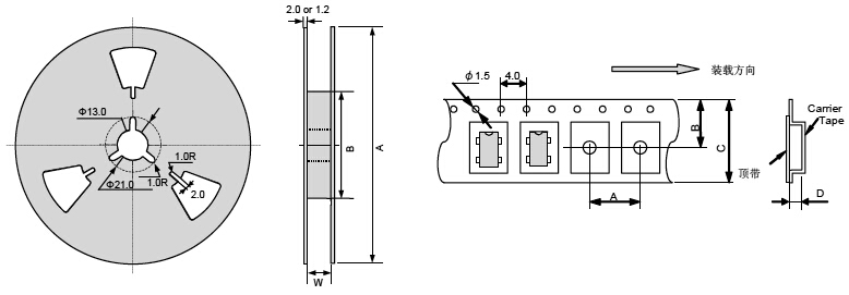
3.SMD
將SMD 產品包裝在紙箱里以便裝運,如下表所述;符合磁帶標準EIA-481 和 IEC-60286.


產品的產品編號表達規范
各位采購在訂購時,請確認您的規格,在聯系我們之前咨詢我們的標準包裝規格的產品規格和數量標準的包裝規格.康華爾電子均有大量現貨供應,并且免費提供樣品,對于不能拿整盤包裝的客戶,可以根據情況為您拆盤,歡迎大家聯系我們.
正在載入評論數據...
相關資訊
- [2025-06-24]美國Greenray格林雷超低相位噪聲...
- [2024-05-31]bliley technologies inc公司介...
- [2024-05-22]ConnorWinfield石英晶體CS-044-...
- [2024-05-21]Mmdcomp模擬MSH302548AH-18.432...
- [2024-03-14]EV電車充電器中不同類型FUJI晶振...
- [2024-03-14]享譽全球的富士晶振公司歷史沿革...
- [2024-03-12]Crystek公司表現出色的CVCO55FL...
- [2024-03-08]臺灣業界的領先者Taitien晶振公...






業務經理